今天,关于黄金每克的最新价格,有详细的表格吗今日黄金一克需花费多少钱?若要让黄金变得干净并恢复光泽,主要方法有肥皂水浸泡刷洗、牙膏轻柔擦拭、专业清洁剂浸泡和超声波清洗等,需结合饰品类型与污渍程度挑选适宜方式。接下来随小编了解一下“黄金各品类价格表”最新具体详情吧。
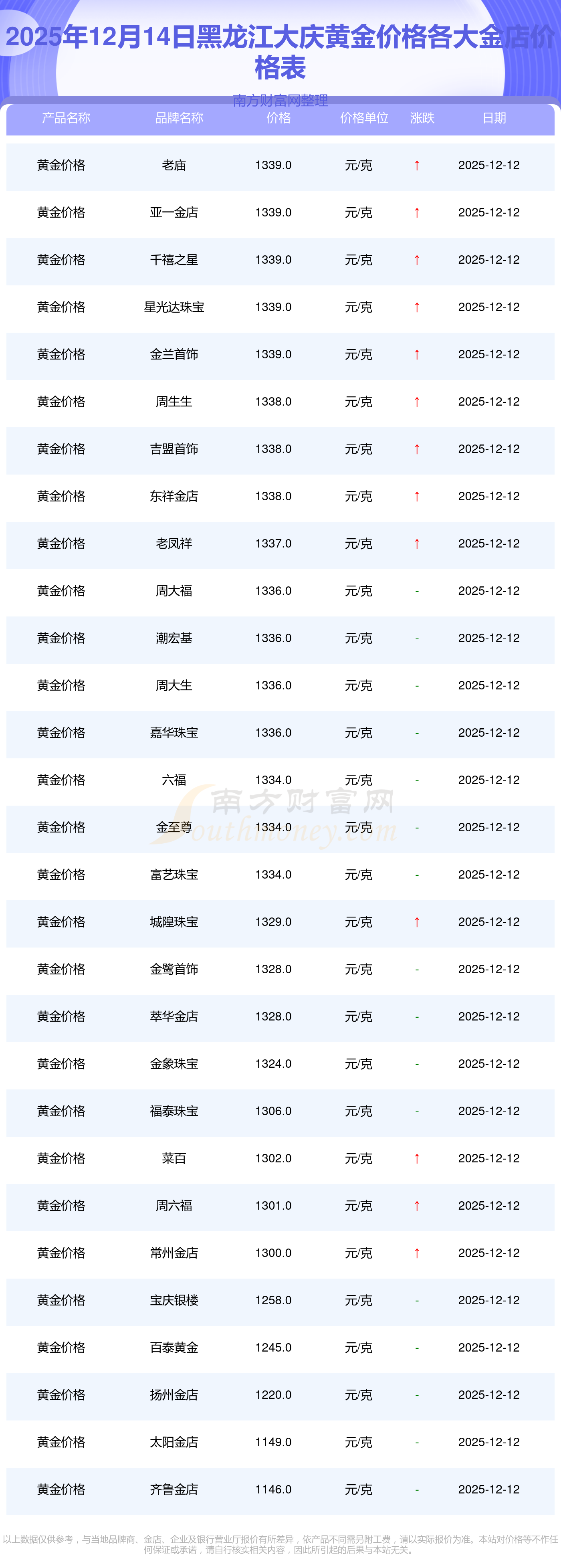
一、2025年12月14日黑龙江大庆周大福、周大福、老凤祥、老凤祥、老庙、老庙、周生生、周生生、周大福、周大福、周大福等各大金店品牌黄金价格最新价格行情来了,如下:周大福黄金价格1336.0元/克,周大福铂金价格681.0元/克,老凤祥黄金价格1337.0元/克,老凤祥铂金价格650.0元/克,老庙黄金价格1339.0元/克,老庙铂金价格600.0元/克,周生生黄金价格1338.0元/克,周生生铂金价格681.0元/克,周大福饰品金价(内地)1336.0元/克,周大福黄金饰品(香港)47410.0,周大福铂金价格(香港)19550.0。
今日黑龙江大庆黄金价格报价最高的金店是老庙,为1339.0元/克,报价最低的金店是齐鲁金店,为1146.0元/克。今日黄金价格高低差为193元/克。
二、想从工商银行买金条,有什么方法
工商银行里购买金条,有线上手机银行、网银与线下柜台两种方式,能即时购买或积存兑换,得开通贵金属账户并完成实名认证。线上购买流程
手机银行操作
登录工商银行APP,点击“全部”→“贵金属”→“实物贵金属”,搜索“如意金条”或直接输入克重选择产品。
支付后可选邮寄或网点自提,提货前需致电95588确认库存并预约(1-2天到货)。
积存金兑换
通过“积存贵金属”功能分次定投(200元起),积满20克可兑换实物金条(免加工费)。
线下柜台购买流程
预约与准备
致电网点或通过APP查询金条库存,热门规格(如100克以上)建议提前2天预约。
携带身份证原件、银行卡(需开通贵金属的交易功能)及资金(信用卡不可用)。
到店办理
签署《贵金属购买协议》,支付款项(实时金价×克重+约2%手续费)。
当场验货(检查AU9999钢印、鉴定证书),提货需等待1-2小时熔铸检测。
注意事项
大额交易:单笔超50万元需提供资金来源证明,企业客户需额外材料。
账户要求:需持有工行借记卡并开通网银/手机银行,部分业务(如积存)需柜台首次开通。
交易规则:人民币黄金最低10克起购,委托交易有效期5日内。
三、黄金价格最新价查询 今天上海黄金交易所黄金价格表

以上黄金价格相关数据由南方财富网整理提供,仅供参考。
南方财富网声明:资讯仅代表作者个人观点。不保证该信息(包括但不限于文字、数据及图表)全部或者部分内容的准确性、真实性、完整性、有效性、及时性、原创性等,若有侵权,请第一时间告知删除。仅供投资者参考,并不构成投资建议。投资者据此操作,风险自担。